用于生活污水处理回收的环保技术
科技环保:电子垃圾回收处理技术减少污染 #生活知识# #科技生活# #科技改变生活# #科技环保#
如需降低污水处理成本或资源化回收利用,项目合作请拨打:400-000-2365 ,技术咨询请拨打:18600218297
申请日2018.02.28
公开(公告)日2018.10.02
IPC分类号E03C1/04; E03C1/122; E03B1/04; C02F9/02; C02F9/10
摘要
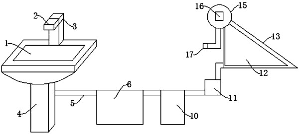
本实用新型公开了一种用于生活污水处理回收的环保装置,包括盥洗池、第一水龙头、红外线感应器、底座、水管,所述盥洗池上面设置有所述第一水龙头,所述第一水龙头后面设置有所述红外线感应器,所述盥洗池下面设置有所述底座,所述底座旁边设置有所述水管,所述水管旁边设置有净化池,所述净化池里面设置有精滤网,所述精滤网下面设置有离子吸附层,所述离子吸附层下面设置有活性炭吸附层,所述净化池旁边设置有蒸馏箱,所述蒸馏箱旁边设置有所述水管,所述水管上面设置有水泵。有益效果在于:该生活污水处理回收的环保装置结构简单,实用向强,使生活中的污水得到了再次利用,避免水资源的浪费,也减少了对大自然的污染危害。
权利要求书
1.一种用于生活污水处理回收的环保装置,其特征在于:包括盥洗池(1)、第一水龙头(2)、红外线感应器(3)、底座(4)、水管(5),所述盥洗池(1)上面设置有所述第一水龙头(2),所述第一水龙头(2)后面设置有所述红外线感应器(3),所述盥洗池(1)下面设置有所述底座(4),所述底座(4)旁边设置有所述水管(5),所述水管(5)旁边设置有净化池(6),所述净化池(6)里面设置有精滤网(7),所述精滤网(7)下面设置有离子吸附层(8),所述离子吸附层(8)下面设置有活性炭吸附层(9),所述净化池(6)旁边设置有蒸馏箱(10),所述蒸馏箱(10)旁边设置有所述水管(5),所述水管(5)上面设置有水泵(11),所述水泵(11)旁边设置有所述水管(5),所述水管(5)另一边设置有太阳能热水器(12),所述太阳能热水器(12)表面设置有太阳能电池板(13),所述太阳能电池板(13)上面设置有电池片(14),所述太阳能热水器(12)上方设置有水箱(15),所述水箱(15)上面设置有控制器(16),所述水箱(15)下面设置有所述水管(5),所述水管(5)旁边设置有第二水龙头(17)。
2.根据权利要求1所述的一种用于生活污水处理回收的环保装置,其特征在于:所述第一水龙头(2)与所述盥洗池(1)通过螺纹连接,所述红外线感应器(3)与所述第一水龙头(2)通过镶嵌连接。
3.根据权利要求1所述的一种用于生活污水处理回收的环保装置,其特征在于:所述盥洗池(1)与所述底座(4)通过螺栓连接,所述底座(4)与所述水管(5)通过螺纹连接。
4.根据权利要求1所述的一种用于生活污水处理回收的环保装置,其特征在于:所述水管(5)与所述净化池(6)通过螺纹连接,所述精滤网(7)与所述净化池(6)通过卡扣连接。
5.根据权利要求1所述的一种用于生活污水处理回收的环保装置,其特征在于:所述离子吸附层(8)与所述净化池(6)通过卡扣连接,所述活性炭吸附层(9)与所述净化池(6)通过卡扣连接。
6.根据权利要求1所述的一种用于生活污水处理回收的环保装置,其特征在于:所述水管(5)与所述蒸馏箱(10)通过螺纹连接,所述水泵(11)与所述水管(5)通过螺纹连接。
7.根据权利要求1所述的一种用于生活污水处理回收的环保装置,其特征在于:所述水管(5)与所述太阳能热水器(12)通过螺纹连接,所述太阳能电池板(13)与所述太阳能热水器(12)通过镶嵌连接。
8.根据权利要求1所述的一种用于生活污水处理回收的环保装置,其特征在于:所述太阳能电池板(13)与所述电池片(14)通过粘胶连接,所述水箱(15)与所述太阳能热水器(12)焊接。
9.根据权利要求1所述的一种用于生活污水处理回收的环保装置,其特征在于:所述水箱(15)与所述控制器(16)通过螺钉连接,所述水管(5)与所述第二水龙头(17)通过螺纹连接。
说明书
一种用于生活污水处理回收的环保装置
技术领域
本实用新型涉及污水处理回收的环保领域,特别是涉及一种用于生活污水处理回收的环保装置。
背景技术
生活污水是指人们在日常生活活动中所排出的废水,这种废水主要被生活废料和人的排泄物所污染,污染物的数量、成分和浓度与人们的生活习惯、用水量有关。生活污水一般并不含有有毒物质,但是,它具有适于微生物繁殖的条件,含有大量细菌和病原体,从卫生角度来看,具有一定的危害性。由于城市人口的不断增多,城市生活废水处理问题日益凸显。又因为技术落后、资金短缺、治理难度较大,一直影响着城市环境及其建设。随着城市化的推进,用水量的不断增加,污染将会更加的严重,影响也会更加的恶劣。目前人们使用的生活污水大部分直接将其排出室外,排到河水中,不仅造成大量的水资源浪费,而且还造成了自然界中的大面积水污染。
实用新型内容
本实用新型的目的就在于为了解决上述问题而提供一种用于生活污水处理回收的环保装置。
本实用新型通过以下技术方案来实现上述目的:
一种用于生活污水处理回收的环保装置,包括盥洗池、第一水龙头、红外线感应器、底座、水管,所述盥洗池上面设置有所述第一水龙头,所述第一水龙头后面设置有所述红外线感应器,所述盥洗池下面设置有所述底座,所述底座旁边设置有所述水管,所述水管旁边设置有净化池,所述净化池里面设置有精滤网,所述精滤网下面设置有离子吸附层,所述离子吸附层下面设置有活性炭吸附层,所述净化池旁边设置有蒸馏箱,所述蒸馏箱旁边设置有所述水管,所述水管上面设置有水泵,所述水泵旁边设置有所述水管,所述水管另一边设置有太阳能热水器,所述太阳能热水器表面设置有太阳能电池板,所述太阳能电池板上面设置有电池片,所述太阳能热水器上方设置有水箱,所述水箱上面设置有控制器,所述水箱下面设置有所述水管,所述水管旁边设置有第二水龙头。
上述结构中,所述盥洗池用过的污水,经过所述水管进入所述净化池中,经过所述精滤网,所述离子吸附层和所述活性炭吸附层作用后,在经过所述水管进入所述蒸馏箱,所述蒸馏箱作用后的水经过所述水泵作用后进入所述太阳能热水器,在所述控制器作用下重新使用。
为了进一步提高环保效果,所述第一水龙头与所述盥洗池通过螺纹连接,所述红外线感应器与所述第一水龙头通过镶嵌连接。
为了进一步提高环保效果,所述盥洗池与所述底座通过螺栓连接,所述底座与所述水管通过螺纹连接。
为了进一步提高环保效果,所述水管与所述净化池通过螺纹连接,所述精滤网与所述净化池通过卡扣连接。
为了进一步提高环保效果,所述离子吸附层与所述净化池通过卡扣连接,所述活性炭吸附层与所述净化池通过卡扣连接。
为了进一步提高环保效果,所述水管与所述蒸馏箱通过螺纹连接,所述水泵与所述水管通过螺纹连接。
为了进一步提高环保效果,所述水管与所述太阳能热水器通过螺纹连接,所述太阳能电池板与所述太阳能热水器通过镶嵌连接。
为了进一步提高环保效果,所述太阳能电池板与所述电池片通过粘胶连接,所述水箱与所述太阳能热水器焊接。
为了进一步提高环保效果,所述水箱与所述控制器通过螺钉连接,所述水管与所述第二水龙头通过螺纹连接。
有益效果在于:该生活污水处理回收的环保装置结构简单,实用向强,使生活中的污水得到了再次利用,避免水资源的浪费,也减少了对大自然的污染危害。
如需降低污水处理成本或资源化回收利用,项目合作请拨打:400-000-2365,技术咨询请拨打:18600218297
网址:用于生活污水处理回收的环保技术 https://www.yuejiaxmz.com/news/view/1263371
相关内容
生活污水回收利用处理技术超滤技术应用于生活污水处理回用系统
生活污水回收处理再利用技术
高效环保生活污水处理技术
环保节约型生活污水处理技术
家居环保用污水处理技术
环保科技行业污水处理与资源回收方案.doc
生活污水处理回收利用系统
城市生活污水回收再利用技术
关于污水处理之生态污水处理技术了解一下

