烟感探测器和温感探测器的设置与安装规范!
安装防火门和烟雾探测器,提高家庭的安全性。 #生活常识# #生活安全# #火灾预防措施#
设置安装烟感探测器或温感探测器是有规范要求的,并不是在某一个区域内想怎么装就怎么,想装多少个就装多少个。烟感探测器和温感探测器是有设置与安装规范的,下面合景消防给大家分享烟感探测器和温感探测器的设置与安装规范。
我们先来了解火灾探测器类型的选择:
应根据探测区域内可能发生的初起火灾的形成和发展特征、房间高度、环境条件以及可能引起误报的原因等因素来决定。
感烟探测器做为前期、早期报警是非常有效的。其感烟探测器适于选用的场合有:要求火灾损失小的重要地点,对火灾初期有阴燃阶段,即产生大量的烟和少量的热,很少或没有火焰辐射的火灾,如棉麻织物的引燃等.
如:饭店、旅馆、办公楼、商场等。
不适于选用的场所:正常情况下有烟的场所,经常有粉尘及水蒸气等固体、液体微粒出现的场所,发火迅速、产生烟极少爆炸性场合 。比如:餐厅食堂后厨,自助餐厅火锅上方。
感温型探测器做为火灾形成早期(早期、中期)报警非常有效。因其工作稳定,不受非火灾性烟雾汽尘等干扰 。凡无法应用感烟探测器、允许产生一定的物质损失非爆炸性的场合都可采用感温型探测器,特别适用于经常存在大量粉尘、烟雾、水蒸气的场所及相对湿度经常高于95%的房间,但不宜用于有可能产生阴燃火的场所。例:车库、餐厅后厨。
一开始也说了,烟感探测器或温感探测器并不是想装多少个就装多少个,接下来我们再来了解火灾探测器的设置数量:
规范规定:每个探测区域内至少设置一只火灾探测器。一个探测区域内所设置探测器的数量应按下式计算:
N—一个探测区域内所设置的探测器的数量,单位用“只”表示,N应取整数;
S—一个探测区域的地面面积(㎡);
A—探测器的保护面积(㎡),指一只探测器能有效探测的地面面积。由于建筑物房间的地面通常为矩形,因此,所谓“有效”探测器的地面面积实际上是指探测器能探测到矩形地面面积。探测器的保护半径R(m)是指一只探测器能有效探测的单向最大水平距离;
K—安全修正系数。特级保护对象k取0.7 - 0.8,一级保护对象k取值为0.8 - 0.9,二级保护对象k取0.9 - 1. 0。
重点来了,探测器设置要求如下:
1.探测区域每个房间至少设置一只火灾探测器。
2.探测器至墙壁、梁边的水平距离,不应小于0.5m。
3.探测器周围0.5m内,不应有遮挡物。
4.探测器至空调送风口边的水平距离,不应小于1.5m。
5.在宽度小于3m的内走道的顶棚设置探测器时应居中布置,感温探测器的安装间距不应超过l0m,感烟探测器安装间距不应超过15m,探测器至端墙的距离,不应大于安装间距的一半,在内走道的交叉和汇合区域上,必须安装1只探测器。
6.房间被书架、贮藏架或设备等阻断分隔,其顶部至顶棚或梁的距离小于房间净高5%时,则每个被隔开的部分至少安装一只探测器。
7.探测器宜水平安装,如需倾斜安装时,角度不应大于45°。
8.梁:
(1)当梁突出顶棚的高度小于200mm时,可不计梁对探测器保护面积的影响;
(2)当梁突出顶棚的高度超过600mm时,被梁隔断的每个梁间区域应至少设置一只探测器;
(3)当被梁隔断的区域面积超过一只探测器的保护面积时,被隔断的区域应按规定方法计算探测器的设置数量;
9.下列场所可不设置探测器:厕所、浴室及其类似场所;不能有效探测火灾的场所;不便维修、使用(重点部位除外)的场所。
探测器安装要求如下:
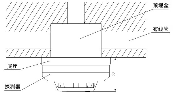
1、探测器安装方式图:
2、DZ-02探测器通用底座外形示意图:
底座上有4个导体片,片上带接线端子,底座上不设定位卡,便于调整探测器报警指示灯的方向。预埋管内的探测器总线分别接在任意对角的二个接线端子上(不分极性),另一对导体片用来辅助固定探测器。
待底座安装牢固后,将探测器底部对正底座顺时针旋转,即可将探测器安装在底座上。
布线要求:探测器二总线宜选用截面积≥1.0mm2的阻燃RVS双绞线,穿金属管或阻燃管敷设 。
3、实际操作:
①、模拟装柜装修拆除现场的感烟探测器。
②、现场安装感烟探测器。
4、接线施工严格注意三点:避免短路、避免断线、避免对地。
安装完之后,不同类型的探测器应有10%且不少于50只左右的备品,以便更换。同时要注意的是,安装探测器以及做消防工程需要找专业有资质的消防公司,在这里推荐合景消防给大家。合景消防是东莞本土优秀的消防工程安装公司,具有多年消防工程安装经验和消防设施工程专业承包贰级资质以及安全生产许可证,公司可承接厂房、酒店、写字楼等各类公共场所的消防安装工程以及机电安装和装修装饰服务,公司已服务上百家企业客户,口碑良好,联系电话:400-602-0222/18665110000
网址:烟感探测器和温感探测器的设置与安装规范! https://www.yuejiaxmz.com/news/view/1393777
相关内容
空气质量探测器CS空气质量探测器(多合一)
有哪些手机探测器app:智能探测先锋全知晓
探究无线传感器网络的家庭环境监测系统设计
智能家居蓝图展开 探测器设备智慧生活
江门空气质量监测传感器 粉尘传感器 按需定制
空气质量传感器/空气质量检测仪
【烟雾报警器知识百科】烟雾报警器的原理 烟感器的安装使用维修技巧大全
燃气探测器报警处理方法,燃气报警器清理和测试方法
适用于家庭的6种最佳智能空气质量监测器和传感器

