平板式冰箱门体搁物架
发布时间:2025-11-16 12:12
用木质搁板分隔开放式书架 #生活技巧# #家居装饰建议# #家居改造DIY#
授权公布号:CN2531337
平板式冰箱门体搁物架
有效
申请
2002-02-21
申请公布
1970-01-01
授权
2003-01-15
预估到期
2012-02-21
申请号 CN02212945.6 申请日 2002-02-21 授权公布号 CN2531337 授权公告日 2003-01-15 分类号 F25D25/04 分类 制冷或冷却;加热和制冷的联合系统;热泵系统;冰的制造或储存;气体的液化或固化; 申请人名称 海尔集团公司 申请人地址 山东省青岛市海尔路1号海尔工业园专利法律状态
2021-10-01 授权
状态信息
授权
2010-08-04 专利权的终止
状态信息
未缴年费专利权终止;IPC(主分类):F25D 25/04;申请日:20020221;授权公告日:20030115
2003-01-15 实用新型专利权授予
状态信息
授权
摘要
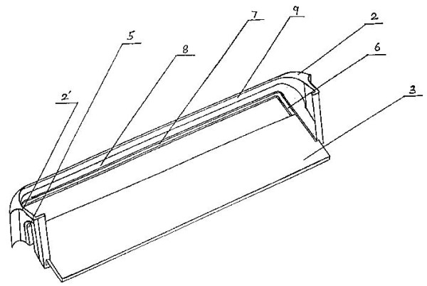
一种平板式冰箱门体搁物架,包括支撑架、夹条和玻璃搁物板,支撑架侧壁内侧的底部边缘的水平方向上设置凹槽,夹条上设置凹槽,搁物板设置在支撑架和夹条的凹槽中,其中支撑架和夹条为一体结构;夹条上表面的竖直方向上设置挡板;搁物架设置在冰箱门体上。上述平板式冰箱门体搁物架加工方便,生产效率高,玻璃搁物板不宜折断,搁物架组装简单方便,并能防止食品自搁物架上掉落。
网址:平板式冰箱门体搁物架 https://www.yuejiaxmz.com/news/view/1405985
相关内容
冰箱及其门搁架组件.pdf组合式冰箱搁物架的制作方法
【冰箱门搁架】
一种冰箱门搁物架的制作方法
用于冰箱的搁物架防护装置、搁物架组件及冰箱的制作方法
搁物架组件及冰箱的制作方法
用于冰箱门的门搁架和冰箱门以及冰箱的制作方法
冰箱搁架是什么
冰箱及其发光搁物架的制作方法
带搁架的电冰箱门.pdf

