生活污水回收再利用技术
学习回收再利用技术,如废纸再生书籍 #生活乐趣# #日常生活乐趣# #环保生活实践# #家庭DIY乐趣#
如需降低污水处理成本或资源化回收利用,项目合作请拨打:400-000-2365 ,技术咨询请拨打:18600218297
申请日2005.11.07
公开(公告)日2006.11.08
IPC分类号E03C1/12; E03D1/24
摘要
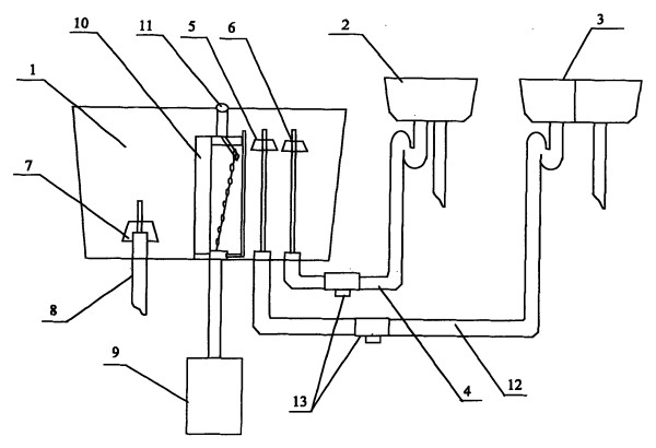
本实用新型公开了一种生活污水回收再利用装置,由蓄水箱(1)、洗漱池(2)、洗菜池(3)、连接管(4、12)构成,蓄水箱(1)开有三个入水口,一个出水口,蓄水箱(1)的三个入口分别安装三个浮球控制阀(5、6、7);洗漱池(2)开有两个出水口;洗菜池(3)内部隔成两部分,每部分底部有一个出水口;蓄水箱(1)的两个入水口分别由连接管线(4、12)与洗漱池(2)和洗菜池(3)的一个出水口接通,另一个入水口与自来水管线(8)接通,蓄水箱(1)的出水口管线与便器(9)接通。该装置利用蓄水箱、洗漱池、洗菜池、便器相互之间的位差对洗、漱,洗菜产生的生活污水进行回收和再利用,对家庭现用设施不需作太多改动,结构简单、实用,成本低。
权利要求书
1、一种生活污水回收再利用装置,由蓄水箱(1)、洗漱池(2)、洗菜池(3)、 连接管(4、12)构成,其特征在于:蓄水箱(1)开有三个入水口,一个出水 口,蓄水箱(1)的三个入口分别安装三个浮球控制阀(5、6、7);洗漱池(2) 开有两个出水口;洗菜池(3)内部隔成两部分,每部分底部有一个出水口;蓄 水箱(1)的两个入水口分别由连接管线(4、12)与洗漱池(2)和洗菜池(3) 的一个出水口接通,另一个入水口与自来水管线(8)接通,蓄水箱(1)的出 水口管线与便器(9)接通。
2、根据权利要求1所述的生活污水回收再利用装置,其特征在于:洗漱池 (2)底部的出水口处安装开关阀。
3、根据权利要求1或2所述的生活污水回收再利用装置,其特征在于:连 接管线(4、12)上设置有三通(13)。
4、根据权利要求1或3所述的生活污水回收再利用装置,其特征在于:连 接管线(4、12)上的三通在靠近蓄水箱(1)的一侧放置过滤网。
说明书
生活污水回收再利用装置
技术领域:
本实用新型涉及的是污水回收装置,具体是一种生活污水回收再利用装 置。
背景技术:
家庭生活中常因洗、漱,洗菜会产生大量的生活污水,其中有些污水如 二次或三次洗菜、洗米用水,几乎不需要再进行处理就可直接用于冲洗便器, 而目前在绝大多数家庭中。由于便器、洗漱池、洗菜池之间没有连通,这部 分用水也就直接流入下水道,白白流掉,如能将这部分水回收再利用,对于 家庭在用水方面将可节省一笔可观的费用支出。
发明内容:
本实用新型的目的是针对上述问题提供一种生活污水回收再利用装置。
本实用新型目的是通过下述技术方案予以实现:生活污水回收再利用装 置由蓄水箱、洗漱池、洗菜池、连接管构成,蓄水箱开有三个入水口,一个 出水口,蓄水箱的三个入水口分别安装三个浮球控制阀,洗漱池开有两个出 水口,洗菜池内部隔成两部分,每部分底部有一个出水口;蓄水箱的两个入 水口分别由连接管线与洗漱池、洗菜池的一个出水口接通,另一个入水口与 自来水管接通,蓄水箱的出水口由连接管线与便器接通。
本实用新型具有的积极效果:本实用新型对家庭现用设施不需作太多的 改动,结构简单、实用,成本低。
如需降低污水处理成本或资源化回收利用,项目合作请拨打:400-000-2365,技术咨询请拨打:18600218297
网址:生活污水回收再利用技术 https://www.yuejiaxmz.com/news/view/1287048
相关内容
城市生活污水回收再利用技术生活污水回收处理再利用技术
生活污水回收利用处理技术
生活污水回收再利用工程
生活污水回收再利用设备
生活污水再利用环保技术
生活废水回收再利用方法及技术
工厂生活污水的回收再利用
论城市生活污水的回收、处理及再利用
生活污水再利用技术及其使用方法

